Document Description

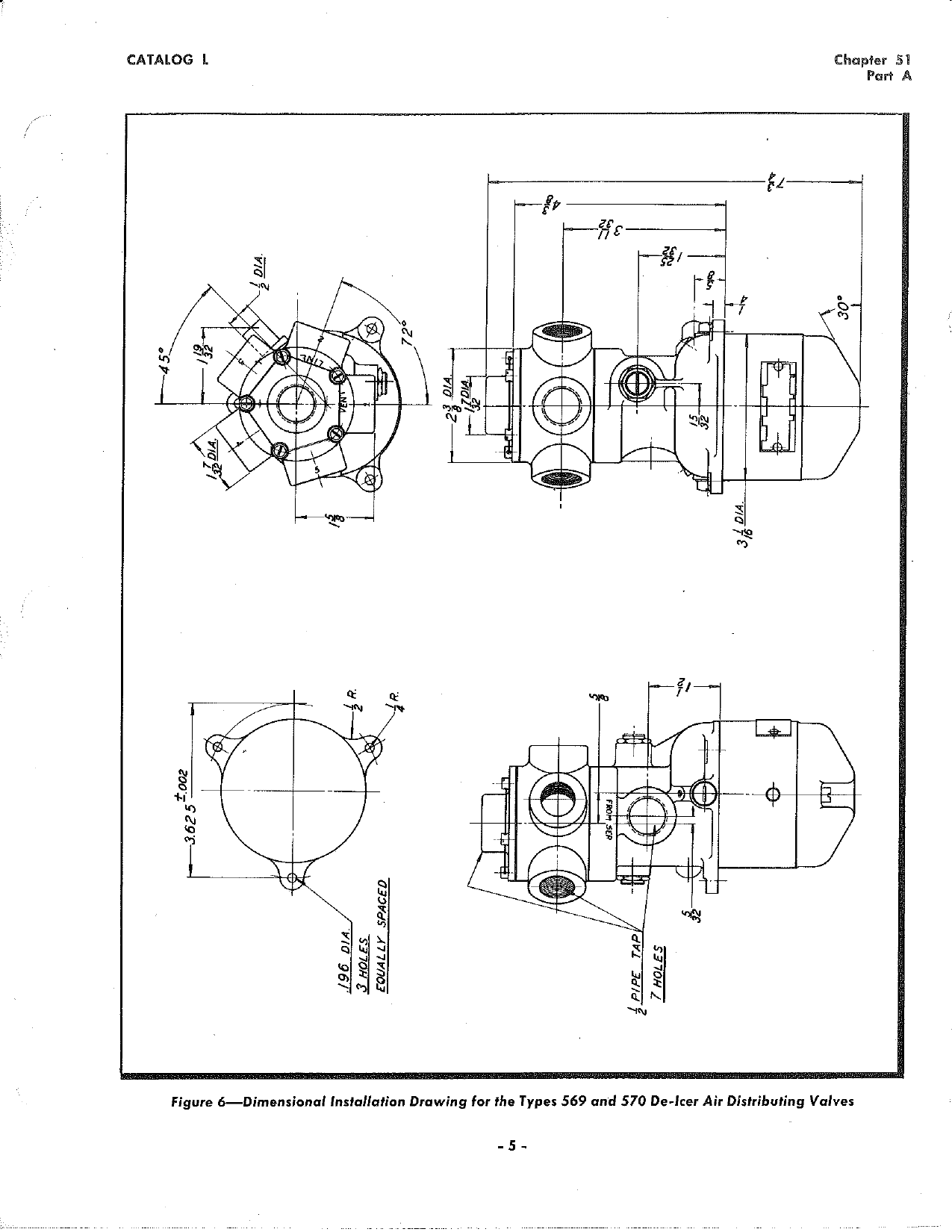
Operating and Service Instructions for De-Icer Air Distributing Valves and 4-Way Control Valves, Catalog L, Chapter 51 Part A, April-1944

Document Part Number

Catalog L, Chapter 51 Part A

Document Revision Date

April-1944

Already a Member?

Sign in to read this full document


Become a member

To access this and thousands of other manuals, plus over 400,000 warbird engineering drawings!

JOIN NOW


Don't want to join?

No problem - Click below to purchase a digital download of this manual from our storefront!

PURCHASE NOW

Sample Page: 1 of 3